갤럭시 Galaxy Z 플립(Flip) 5 출시일, 가격, 디자인, 예상 스펙
- 카테고리 없음
- 2023. 4. 6.
올해 가을에 출시될 삼성의 갤럭시 Z Flip 5의 경우 대대적인 디자인 변화가 예상이 되고 있습니다. 기존의 U 자형 힌지에서 물방울 힌지로 변경됨으로써 갤럭시 Z Flip 처음으로 접었을 때 틈이 없는 완벽한 디자인이 예상됩니다. 이 번 글에서는 Z Flip 5 출시일, 디자인, 예상 스펙에 대해 정리하였습니다.
⭕️ 목차
- 출시일
- 예상 가격
- 디자인
- 디스플레이
- 카메라
- 성능 (AP, 배터리)

1. 갤럭시 Z 플립 (Flip) 5 - 출시일
최근 몇 년 동안 삼성은 8월 2번째 주에 갤럭시 Z 시리즈를 공개하였습니다. 2주 후 금요일에 실제 제품을 시장에 출시하였습니다. 전작인 갤럭시 Z Flip 4의 경우 8월 10(목)에 제품을 공개하고, 2주 후 금요일인 8.26에 제품을 출시하였습니다. 올해도 작년과 동일하게 8월 두 번째 주 수요일 또는 목요일에 제품을 공개할 것으로 예상이 됩니다.
갤럭시 Z Flip 5 출시일
8월 10일 (목) 제품 공개
8월 26일 (금) 제품 출시
역대 갤럭시 Z 플립 공개 및 출시일
| 모델 | 공개일 | 출시일 |
| 갤럭시 Z Flip 3 | 2021.08.11 (수) | 2021.08.27 (금) |
| 갤럭시 Z Flip 4 | 2022.08.10 (목) | 2022.08.26 (금) |
| 갤럭시 Z Flip 5 | 2023.08.10 (목) | 2023.08.26 (금) |
2. 갤럭시 Z 플립 (Flip) 5 - 가격
갤럭시 Z 플립 5의 가격에 대한 정보다 아직까지 구체적으로 알려지고 있지는 않지만 기존 가격을 유지하거나 $50 정도 인상이 될 것으로 예상을 하고 있습니다. 한국의 경우 갤럭시 Z 플립 4와 동일하게 128GB 모델을 출시하지 않고, 256GB와 512GB만 출시할 것으로 예상이 됩니다.
갤럭시 Z 플립 전작 가격 및 예상 가격
| 모델 | 128GB | 256GB | 512GB |
| 갤럭시 Z Flip 3 | $999 | $1,100 | $1,179 |
| 갤럭시 Z Flip 4 | $999 | $1,100 |
$1,179 |
| 갤럭시 Z Flip 5 | $999 - $1,049 | $1,100 - $1,149 | $1,179 - $1,229 |
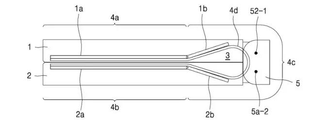
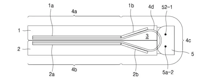
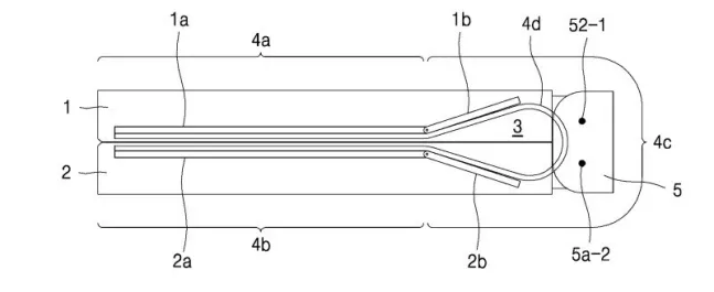
3. 갤럭시 Z 플립 (Flip) 5 - 디자인
갤럭시 Z 플립 5 디자인에서 2가지의 큰 변화가 예상이 됩니다. 첫 번째는 힌지 구조의 변화로 지금까지 사용한 U 자형 힌지를 버리고, 물방울 형태의 힌지가 적용될 것으로 예상이 되고 있습니다. 전작인 갤럭시 Z 플립 4의 경우 접었을 때 힌지 쪽에 틈이 있었지만, 이번에 '물방울 힌지'로 변경을 통해 접었을 때 완전히 붙는 디자인이 될 것으로 예상이 됩니다.

Ross Young에 의하면 삼성이 이번 갤럭시 Z 시리즈에서 디스플레이 주름 개선과 디자인 개선을 위한 새로운 힌지를 도입할 것이라 주장을 하였습니다. 새로운 힌지 구조는 접었을 때 디스플레이가 크게 접혀 물방울 형태를 만들기 때문에 '물방울 힌지'라고 불립니다.

갤럭시 Z 플립 5의 두 번째 디자인 변화는 외부에 있는 커버 디스플레이의 크기입니다. 현재 갤럭시 Z 플립 4에 적용된 커버 디스플레이이는 1.9인치인데 이번 갤럭시 Z 플립 4에서는 아래 레더링 사진과 같이 3 ~ 4 인치로 커질 것이 예상이 됩니다. Ice Unverse는 커버 디스플레이가 Oppo Find N2 Flip의 3.6인치보다 클 것이라 예상을 했지만, 최근의 루머에 따른 3.4인치로 예상을 하고 있습니다. 커버 디스플레이 형태는 전체적으로 정사각형 모양이지만 카메라 오른쪽 부분이 아래 레더링처럼 살짝 올라갈 것으로 예상이 됩니다.


4. 갤럭시 Z 플립 (Flip) 5 - 디스플레이
디스플레이의 경우 앞서 이야기한 것처럼 외부에 위치하는 커비 디스플레이 경우 그 크기는 정확하지 않지만 3 ~ 4인치 사이로 커질 것으로 예상을 하고 있습니다. 내부에 위치하는 메인 디스플레이의 경우 전작과 크게 차이가 없을 것으로 예상이 됩니다. 6.7인치 FHD + Dynamic AMOLED 2X 디스플레이로 1080 x 2460 해상도 (425 ppi)에 HDR10+와 120HZ 주사율을 지원할 것으로 예상이 됩니다.

5. 갤럭시 Z 플립 (Flip) 5 - 카메라
갤럭시 Z 플립 5에 어떤 카메라가 들어갈지에 대해서는 구체적인 정보가 없지만 이번에 대대적인 업그레이드가 될 것으로 기대를 하고 있습니다. 갤럭시 Z 플립 4에서 약간의 카메라 업그레이드가 있었지만, S시리즈에 비하면 그 성능 차이가 많이 납니다. 이번 갤럭시 Z 플립 5에서는 갤럭시 S23에 적용된 카메라 기능이 많이 도입되기를 기대해 봅니다.

6. 갤럭시 Z 플립 (Flip) 5 - 성능 (AP, 배터리)
갤럭시 Z 플립 5의 AP의 경우 갤럭시 S23에서 적용된 갤럭시용 스냅드래곤 8 2세대가 적용이 될 것으로 예상됩니다. 작년의 경우 스냅드래곤 8 1세대 플러스 제품을 출시하였지만, 올해는 스냅드래곤 8 2세대 플러스 출시하지 않고 연말에 스냅드래곤 8 3세대 AP를 출시할 것으로 예상하고 있습니다.

갤럭시 Z 플립 4의 경우 3,700mA의 배터리가 적용되었습니다. 올해 출시될 갤럭시 Z 플립 5의 배터리 용량에 대해서 아직 알려진 정보는 없지만 3,700mA 보다는 더 늘어날 것으로 기대하고 있습니다.
이번 글에서는 현재까지 알려진 갤럭시 Z 플립 5의 정보들에 대해 알아 보았습니다. 추가 소식이 있을 경우 내용을 업데이트하도록 하겠습니다.
